Direct Inward Dialing,即直接拨⼊。DID 号码是运营商分配的⻓号,全⽹唯⼀。具有DID 号码的企业内⽤⼾呼叫企业外⽤⼾时,根据系统配置,可以对外直接显⽰DID 号码。企业外⽤⼾可以直拨该号码呼通该⽤⼾。可以为DID 号码配置⼀个对应的短号(分机号),该短号⽤于企业内⽤⼾间互拨。外线用户可直接以8位号码拨叫客户交换机的分机 实现方式 用户交换机以若干E1直接与网通市话核心局相连,采用PRI信令; 网通按用户交换机所带分机数量直接分配相应数量的8位码号; 用户交换机为分机自行分配8位码号。 呼叫方式 任何外线用户可直接以8位号直拨用户交换机的分机; 用户交换机也可设定一个号为总机号,,外线呼入时由总机转接短号; 分机呼外线时,由用户交换机设定直拨或转接方式; 优点 与网通核心局直联,采用PRI信令,接续快,接通
直接内部拨入(DID )是一种非常流行的特征,它包括在外部网络中将电话号码直接分配 给电话系统内部的选中设备。于是,这些设备被称为DID分机。当一个外部呼叫者拨叫电话号码与其中一个DID分机进行通信时,那么,外部网络将此 呼叫传递到一组“根” DID网络接口设备的其中一个上。然后,外部网络拨叫最后两位、三 位或四位DID分机号,以便网络接口设备能确定合适的目的端设备。

固定网络接口设备联接
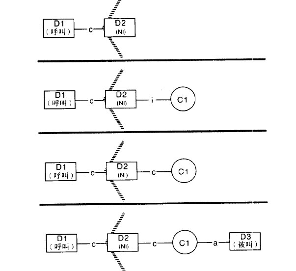
DID的顺序可以按如上图所示的DIL实现,或按如下图所示的DISA那样实现。两种 情况下,D1通过拨叫外部网络中的电话号码,如特殊的DID分机(例如,555-4220 ),从而 探讨到电话系统的呼叫。网络将呼叫连接到一个适当的网络接口设备上(对这个例子来说,是 555-4000 ),然后送出数字220。在这个例子中,网络接口 D2发起一个到D3的呼叫(在电话 系统内部,呼叫被标识为N40220,同时它在外部被分配号码555-4220)。

宜接内部系统访问(DISA )
DID实现方式
用户交换机以若干E1直接与网通市话核心局相连,采用PRI信令;网通按用户交换机所带分机数量直接分配相应数量的8位码号;用户交换机为分机自行分配8位码号。
呼叫方式
任何外线用户可直接以8位号直拨用户交换机的分机;用户交换机也可设定一个号为总机号,外线呼入时由总机转接短号;分机呼外线时,由用户交换机设定直拨或转接方式;
优点
与网通核心局直联,采用PRI信令,接续快,接通率高;用户交换机仍可实现内部短号互拨;实现电脑收发纸件传真,能够做到一对一的收发,不需要传真服务器进行存储识别和转发。
下面我们以我们的VoIP融合通信系统不说明DID功能使用:
下面我们以我们的VoIP融合通信系统不说明DID功能使用:
直线路由可根据数字中继上的DID 号码,或者是根据外线号码对来电进行路由,如果你的IPPBX系统中创建了SIP中继,或配备了E1/T1中继并且有可用DID号码时,你可以根据需要将拨打指定DID号码的来电进行直线路由。在电话->呼入控制->直线路由页面,点击“添加”按钮创建一个基于DID号码的直线路由,如下图所示。

以上图为例,如果号码67350453 是你的SIP 中继或E1/T1 中继上的DID 号码,则当外部号码呼叫该DID 号码时,来电将直接路由到分机1010。直线路由的设置不受时间规则及其他呼入路由的影响,除非该直线号码的呼入目的地是时间规则。其他未指定的DID号码被叫时将按照呼入路由页面中的设置进行处理。若IP 电话机支持特殊铃音功能,在“铃音”处设置话机铃音的名称,符合本规则的来电都会使话机振铃指定的铃声。设置好的直线路由将在页面上罗列出来,如下图所示。

操作选项及参数说明如下表所示。
| 名称 | 说明 |
| 查询 | 查询直线号码,支持模糊查询。 |
| 添加 | 添加单个直线路由。 |
| 批量添加 | 批量添加直线路由。 |
| 删除选择项 | 删除选择的直线路由。 |
| 下载模板 |
下载设置直线路由的模板文件,根据模板提供的格式添加直线号码 后上传至系统批量生成直线号码。 |
| 下载 | 以Excel 文件格式导出系统中的直线号码。 |
| 上传 | 上传编辑过后的直线号码模板文件以批量生成直线号码。 |
其中,批量添加直线号码可以将连续的DID直线号码分配给连续的内部分机号,如下图所示。

设置“起始直线号码”为67350450,“开始分机”为1010,则67350450 至67350459 这10个DID 号码将依次分配给1010 至1019 这10 个分机。当以上直线号码被叫时,电话将直接路由到对应的分机。添加一个基于外部号码的直线路由可以将指定的外部号码的所有来电直接路由到指定的目的地。

以上、下图为例,如果外部号码为47035229,则该号码的所有来电都会直接路由到分机1030。
